便携式电子产品的电路保护
中心议题:
- 便携式电子产品中电路保护的重要性
- 保护原件的种类和工作原理
- 新型过压器件的应用
解决方法:
- 在线路中应用MLV、PESD、PolySwitchTM元件
在电子产品中最重要的设计工作是电路设计。电路可分为两类:功能电路和保护电路。功能电路(如电源电路、振荡器电路、A/D变换电路等)是用来实现电子产品各种功能的;而保护电路(过流保护电路、过压保护电路及过流、过压保护电路)是用来保护功能电路,以实现电子产品的安全性、可靠性及耐用性的。
近年来,便携式电子产品发展迅速,如MP3、MP4、PMP、DVD、数码相机及摄像机,笔记本电脑、上网本(一种小型笔记本电脑)和智能手机等。这些便携式电子产品的主要特点是功能多、电路复杂、工作频率高、频带宽、信号传输率高,并且体积小(全部采用SMD元器件),这对电路保护提出了更高的设计要求。
在手机、笔记本电脑一类便携式电子产品中,由于其工作频率高、频带宽、要求高数据传输速率,电路保护设计的优劣就不仅涉及电子产品的安全性、可靠性和耐用性,同时也涉及到电子产品的性能质量及成本。所以,电路保护是电子产品设计的重要工作。
电路保护的重要性
现在的便携式电子产品中,电路保护的范围极宽,数量也多。这里举两个典型便携式电子产品来说明电路保护的重要性。
1 手机
手机的发展从单一的通话到能实现听音乐、拍照、上网、看电视、GPS等功能的智能手机,电路愈加复杂,而相应的保护电路范围也不断扩展。

图1 手机中需要保护的部件
2 笔记本电脑
笔记本电脑已成为一种时尚的便携式电子产品,最近开发出的“上网本”更受到年轻人的青睐。笔记本电脑比手机更复杂,其需要保护的部件范围更广(见图2)。

图2 笔记本电脑中需要保护的部件
这里要说明的是,图1及图2中的便携式电子产品还不是最新的产品,但也能看出来电路保护的范围之广及数量之多,可见保护电路在这些产品中的重要性。
正是这些保护元器件才实现了电子产品的安全性、可靠性和耐用性,并且减少了用户的维修次数、维修费用及设有手机及笔记本电脑对工作带来的影响。
保护元器件的种类及工作原理
保护元器件分为三类:过流保护、过压保护及过流、过压保护。它们的基本工作原理如下。
1、过流保护
过流保护元件是一种非线性正温度系数热敏电阻(PPTC),如图3所示。一旦有过流状态出现,过大的电流让保护元件发热使阻值发生变化,由低阻态跃变为高阻态,从而限制电流,使被保护的电路免受过流损坏;在过流故障排除后,保护元件冷却,自动由高阻态转变为低阻态,恢复正常工作。这种保护元件称为自复式过流保护元件,如泰科电子公司的PolySwitchTM元件。

图3 PolySwitchTM元件工作电路
2、过压保护
过压保护元器件并联在被保护的电路上(见图4)。在输入电压未过压时,过压保护元器件呈高阻态,其泄漏电流甚微;一旦输入电压过压时,过压保护元器件在瞬间提供低阻抗通路,并将电压钳位于安全的低电压,从而保护电路免受过压损害。当输入电压降落到正常工作电压时,过压保护元器件会自动恢复到高阻态。泰科电子公司的多层压敏电阻(MLV)及ESD保护元件PESD就是常用的过压保护元件。

图4 过压保护元件工作电路
3、过流、过压保护
过流、过压保护器件是过流保护元件与过压保护元件组成的模块(集成电路),如图5所示。它能在输入电压过压或由于短路造成过流故障时,保护电路不受损害。

图5 过流、过压保护器件工作电路
便携式产品的保护元器件的特点
为满足便携式电子产品对保护元器件的要求,保护元器件应具有下述特点。
1、性能
● 响应时间要短;
● 自身的功耗要小,可延长电池寿命;
● 性能稳定,并且寿命长;
● 不影响被保护电路的性能;
● 满足对环境的要求(无铅,符合RoHs规范)。
2、封装及尺寸
● 贴片式(SMD)封装,满足SMT要求;
● 封装尺寸小(占PCB面积小)及剖面高度小。
3、其他
● 可以采用回流焊焊接工艺;
● 价格低,降低产品成本。
PolySwitchTM元件及其应用电路
PolySwitchTM元件是一种自复式聚合物非线性正温度系数(PPTC)热敏电阻。
PolySwitchTM元件的主要参数:在未过流时,其电阻值很小(不同的额定电压下阻值不同,一般为零点几Ω到几Ω);在过流发生时,其电阻值可达mΩ,电流极小接近“断开”,且断开时间(time-to-trip)更短。
该元件的封装尺寸小;电流为0.05~3A;电压为6~60V;常态时阻值小;通过UL、CSA。
该元件应用范围极广,主要为计算机、便携式电子产品、多媒体、游戏机、移动电话,同时也适用于汽车、工业控制及电池等。

图6 用PolySwitchTM元件实现过流保护
PolySwitchTM元件在便携式电子产品适配器(外接电源)中的过流保护如图6所示。图中结构用了两个PolySwitchTM器件,可防止短路时损坏适配器。

图7 用PolySwitchTM元件对充电器进行保护
充电器是便携式电子产品中是必要的附件,图7是充电器中PolySwitchTM元件的应用。图7中的虚线框内是电池组,PolySwitchTM元件在其中作充、放电过流保护。
MLV、PESD及其应用电路
MLV、PESD都是过压保护元器,它们除用过压保护外,也是静电放电(ESD)保护元件。在插拔便携式产品的各种插头时,各端口很容易受到静电放电的损坏,因此插拔端口都需要加ESD保护元器件。
在传输信号的端口上增加ESD保护元器可以防止静电放电的损害,但由于ESD保护元器自身有一定的电容,在高速信号传输过程中,会造成信号的衰减及失真。所以,高速数据传输端口的ESD保护元器件的正确选择十分重要。
MLV的电容量较大(40~220pF),主要用于直流及数据传输率较低的端口。但MLV中的“E”系列,其电容量较小,仅3~12pF,可以适用于较高的数据传输速率的端口作ESD保护。
PESD是专门为高数据传输率端口作ESD保护所开发的保护元件。由于它的电容量极低(0.25pF),所以能满足IEEE1394及HDMI1.3的要求,在高速数据传输时满足了信号传输质量。因此在高清电视、LCD等离子电视、笔记本电脑和手机等产品中都采用PESD作ESD保护元件。

图8 PESD的抑制特性曲线
ESD的主要特性:泄露电流要小,响应时间要短(<1ns),相位电压要低,电容量要小。
PESD有俩种型号:PESD0603-240及PESD0402-140,其电气特性如表1所示,其抑制特性曲线如图8所示。

ESD元件最重要的参数是电容量。一般MLV的电容量是40~220pf,E系列的电容量是3~12pf;而PESD的电容量仅为0.25pf。

图9 2.25GHz下的ESD保护元件眼图

图10 3.4GHz下的PESD眼图

图11 显示端口保护电路
不同工作频率及要求ESD保护元件的电容量关系如表2所示。常用的ESD保护元件比较如表3所示。
采用硅ESD保护元件在2.25GHz时的眼图如图9所示,而采用PESD元件在3.4GHz时的眼图如图10所示,这两图的比较说明了PESD的优良性能。
图11是一种典型的显示端口保护电路。2.7GHz的高频信号线采用8个PESD保护元件,辅助通道工作频率为1MHz,采用5个MLV保护元件;在低压直流电源中则采用了PolySwitchTM元件作过流保护。这样的设计既满足电路能耗要求,并且降低了成本。

图12 USB2.0接口保护电路

图13 IEEE1394接口保护电路
图12及图13分别是USB2.0接口电路的保护电路设计及IEEE1394接口电路的保护电路设计。
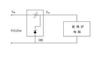
PolyZenTM元件及其应用电路
PolyZenTM元件器件是由精密齐纳二极管和聚合物正温度系数(PPTC)元件组合而成的集成电路。它是用于防止感应尖峰电压、瞬间高电压、错用电源适配器对电路产生过压、过流危害的保护器件,内部结构如图14所示。其典型应用电路如图15所示。在图15中,RLOAD为被保护的下游电路。

图14 PolyZenTM元件内部结构

图15 PolyZenTM元件典型应用电路
在正常工作时,VIN输入电压高于齐纳二极管的击穿电压VZ,有IFLT电流经齐纳二极管到地,VOUT输出稳定的电压。有不正常的过压输入VIN 时,则齐纳二极管的IFLT会产生过流,当器件上有过流时,其电阻由低阻态瞬变到高阻态,使在其上的压降大增,VOUT输出基本不变,而流过齐纳二极管的电流IFLT反而减小,如图16所示。器件上电压降的增大既保护了齐纳二极管,又保护了下游的电路。另外,若被保护的下游电路中存在有局部短路或短路故障时,IOUT会增加,PPTC元件由低阻态变成高阻态,可使电路得到过流保护。
在正常工作时,VIN输入电压高于齐纳二极管的击穿电压VZ,有IFLT电流经齐纳二极管到地,VOUT输出稳定的电压。有不正常的过压输入 VIN时,则齐纳二极管的IFLT会产生过流,当器件上有过流时,其电阻由低阻态瞬变到高阻态,使在其上的压降大增,VOUT输出基本不变,而流过齐纳二极管的电流IFLT反而减小,如图16所示。器件上电压降的增大既保护了齐纳二极管,又保护了下游的电路。另外,若被保护的下游电路中存在有局部短路或短路故障时,IOUT会增加,PPTC元件由低阻态变成高阻态,可使电路得到过流保护。

图16 PolyZenTM元件工作时的电压或电流变化
该器件的主要特点:保护下游电子元器件免受过压及反向偏压的损害(例如5V的适配器错用了12V的适配器或极性接反);由于PPTC元件的作用,减少了齐纳二极管散热的要求,减小占PCB的面积及降低成本;在过压故障时,VOUT输出基本不变;齐纳二极管的耐受能量大,可达30W;小尺寸贴片或4mm×4mm封装。
该器件主要应用于便携式多媒体播放器(PMP)、GPS、5V和12V硬型驱动器的总线保护、USB5V总线保护等。
该器件有9个品种,其电气特性如表4所示。其中,ZEN132V230A16LS及ZEN056V075ALS是即将上市的新产品。
结语
由于电路保护元器件看起来是一些结构简单的元器件,往往不被人重视。在众多电路书籍中,没有介绍保护电路或仅介绍几种老产品(如保险丝、氧化锌压敏电阻及TVS),这方面的技术书籍跟不上产品的发展的需要,所以资料的来源主要是电路保护元器件生产厂商的数据资料及应用指南。
由于篇幅所限,本文仅简单地介绍了泰科电子公司几种应用在便携式电子产品中的保护原器件。另外,保护元器件的应用范围极宽,除便携式电子产品外,还有通信、汽车、医疗仪器、家用电器、工业控制等领域。
